今天小编和大家分享一款近期火爆出圈的头发丰盈装置,是非常多女性朋友打理头发的必备神器,亚马逊上的同款产品销量与留评都十分可观。

1、产品卖点分析
天然护理
如一款增发器,无需使用昂贵的发制产品,便可以使头发变重;且可以延长洗发水和着色之间的时间,使用更少的着色和洗发水,让您的头发开始变得更加健康!
专利技术
单个牙齿将人头发的下层转化为基质,该基质可以支撑头发的外层或上层可见层以产生丰盈度各种实施例还最小化留在头发中的任何可辨别的图案
温度调节
可调节温度设置可以进行实验,找到适合头发类型的温度,有助于防止不必要的损伤您的头发
2、产品发明专利详情
大麦的专利同事对此款头发丰盈装置进行了检索,发现此款早已在2012年便申请了美国发明专利,于2014年9月23日获得了授权
专利号:US8,839,802 B2

发明专利技术摘要
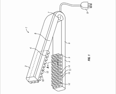
此款卷发装置,专为增加发型的提升或体积而设计。
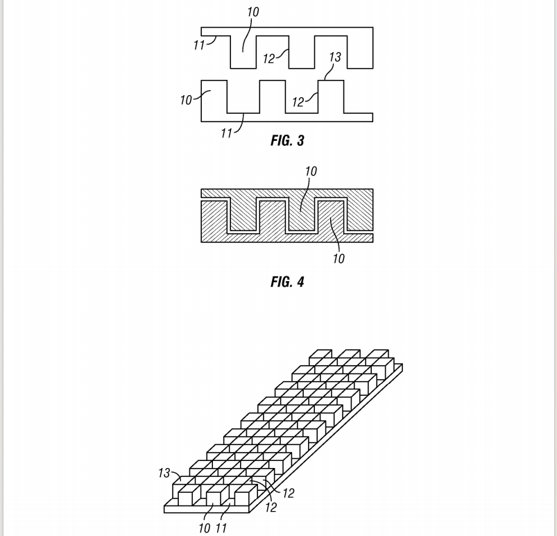
通过牙齿设计来实现,该设计使用向外突出的单个牙齿排列成二维阵列图案,如棋盘或华夫饼图案,而不是长的、规则的柱状、平行的牙齿,可以支撑头发的外层或上层可见层以产生丰盈度
发明专利独权说明
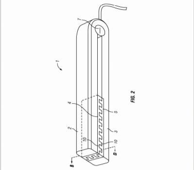
一种用于卷毛发的装置,分为两块联锁板,与加热元件相联合,便于温度的调节

两块联锁板中间设置了可以相对移动的枢轴

两块联锁板各自包括向外突出的独立齿的二维阵列,向外突出的各个齿阵列相互连接

每个单独的牙齿包括一个平坦的顶表面,单独的齿设计和二维阵列图案能够保持强度

风险规避建议:
此款发明专利包含联锁板的两个臂,设置了可移动的枢轴,卖家朋友可以考虑更改为一体式丰盈头发装置,从而规避风险
此外,独权的另外一个保护点是联锁板向外突出的独立齿的二维阵列,卖家朋友们可以改变联锁板上阵列样式,及单独的齿设计,从而规避风险
版权声明:本文发布于亚马逊全栈服务 内容均来源于互联网 如有侵权联系删除

