图片来源:图虫创意
冬天对于懒星人最实用的穿搭莫过于毛毯+棉拖,居家必备放松神器。今天介绍三款动物毛毯,其卡哇伊的外表同样让很多小朋友及宝妈欲罢不能。
一、Comfy Critters


(图片来源:亚马逊详情页)
Comfy Critters是一款TV产品,旨在激发想象力,同时还可以用作毯子和枕头,将儿童的所有"必备品"结合成一个特别的朋友。目前与多个律所代理品牌PAW PATROL 、PJ MASKS 、RAINBOCORNS 、UGLYDOLLS 、PEPPA PIG 有联名款,故在警惕专利的同时,也要小心因版权被律所起诉。
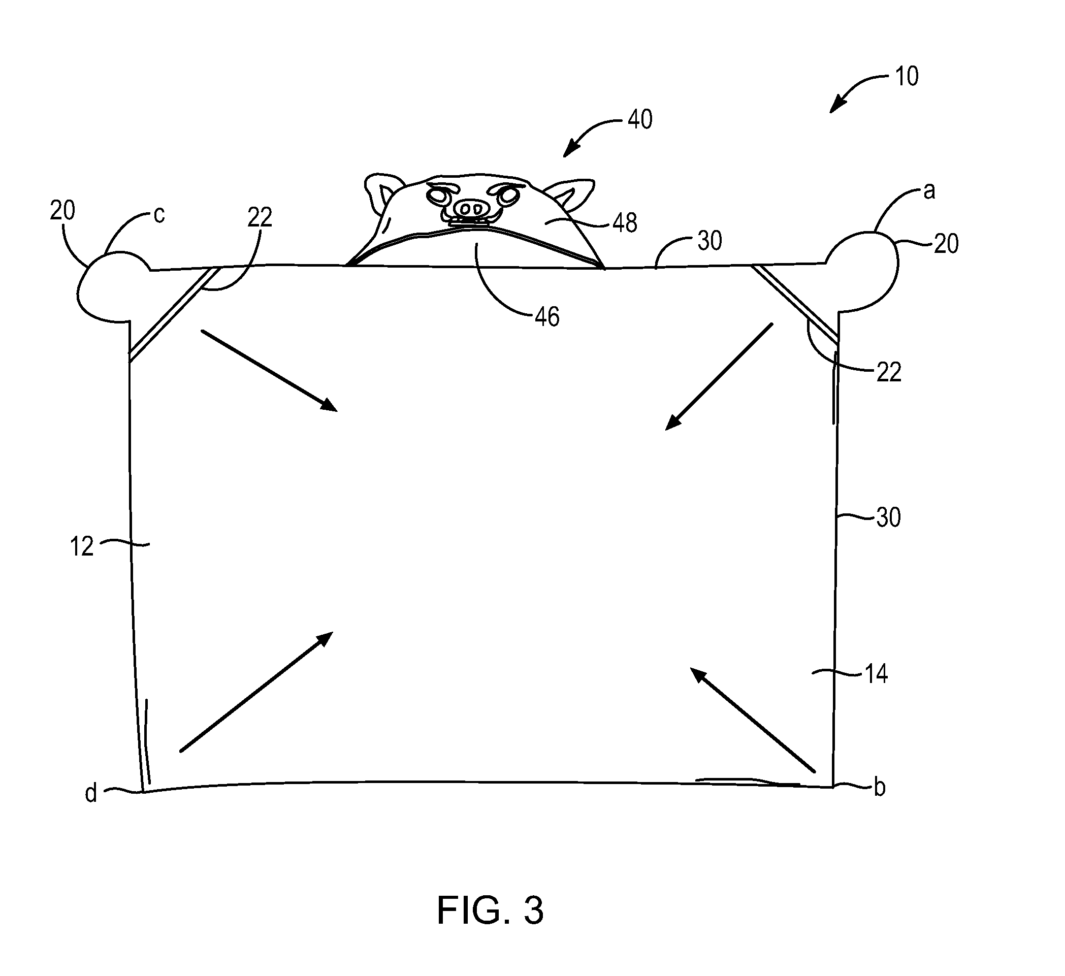
经过检索,Ella发现这款产品早在2011-04-28申请美国发明专利,并于2014-10-21获准注册。以下是该专利的部分专利图:






(图片来源:PATENTCLOUD)
该发明的主要设计点有
一种连帽毯与毛绒玩具转换的制造方法
1、 主要由定义区域周长的毯子、连接毯子的兜帽和外部罩子组成。
2、 罩子具有外表面、内表面和相互交错的边缘表面,该边缘表面形成连续的边缘表面并定义覆盖的开口,构成一个类似卡通形象的装饰表面。
3、 罩子将身体固定在兜帽的内部体积内,当作填充玩具。
二、HAPPY NAPPERS

(图片来源:亚马逊截图)
Happy Nappers一度是跨境爆款,也是TV产品。涉及多个卡通款式,比如独角兽、哈士奇、鲨鱼、小猫等。今年一月其公司Allstar Marketing Group, LLC委托EPS律所为其发起TRO法律诉讼,维权类型主要是商标和版权。官网:https://happynappers.com/
为什么Ella说这款产品有专利,而律所却不以专利维权呢,这是因为专利的申请日为2020-10-09,在今年2021-10-09才授权公告,也就是说律所在起诉的时候这个专利还没申请下来,一般而言,还没注册的专利美国法院是不会受理该诉讼的。但是现在专利已经申请下来了,因为是美国发明专利,以后有相同功能的产品也需注意啦,维权范围扩大了。
以下是部分专利图:




(图片来源:PATENTCLOUD)
该发明的主要设计点有
枕头和睡袋的组合
1、 主要由两个分开的枕头和一个睡袋组成。
2、 第一枕头里面有填充材料,有固定的形状;第二枕头中间是空的,两个枕头中间有睡袋,分别连接睡袋的两端。
3、 睡袋与第二枕头连接,围绕睡袋的周长,使得第二枕头与睡袋形成封闭的一端。
三、Blankie Tails

(图片来源:亚马逊截图)
Blankie Tails是美人鱼爱好者Hattie Peze设计的,她在2015年创立了Hattie Peze LLC,并在成立后第一个圣诞节就卖出了 136000 条毯子,成立一年多尽赚1600万美元,被誉为“这简直就是个童话成真的故事。”
官网:https://www.blankietails.com/collections/blankie-tails
尽管Hattie Peze LLC是个美国公司,但其毛毯实在中国制造的,经过一番检索,Ella发现该款产品在美国已经注册有外观专利,申请日为2017-01-17,并在2018-07-10获准注册。
以下是部分专利图:


(图片来源:PATENTCLOUD)
结语
本期介绍的动物毛毯都是亚马逊美国站的热销品,其中有两款是发明专利,一款是外观专利。需要注意的是,发明专利和外观专利规避的点并不相同。
1. 卖家销售的产品不能同时包含发明专利的权利要求的全部技术特征。
2. 卖家销售的产品在整体上看不能与外观专利相似,一般而言,70%以上的相似,亚马逊就有可能判定为侵权。

