图片来源:图虫创意
玩具一直是旺季热门品类,尤其是亲子游戏玩具,亚马逊上这款火箭发射器非常火爆,在众多火箭发射类玩具中,排列第一名,光留评就已达到17000多条。

(图片来源:亚马逊截图)
这款最酷炫的亲子玩具,其实在锻炼孩子探索欲和肢体协调方面可能会秒杀很多成型玩具。这跟国外父母喜欢动手有巨大的关系,他们比较享受和孩子一起去户外玩的乐趣,这款简单组装的【儿童玩具火箭发射器】将会是他们度过快乐亲子时光的完美消遣。

(图片来源:亚马逊详情页)
相比其他同类的【儿童玩具火箭发射器】每次装弹只能发射一只火箭的鸡肋操作,它的巧妙之处在于,每次装弹可以装好几只火箭,并且之后可以多次发射,大大增加了游戏乐趣,更具市场价值:
(图片来源:亚马逊详情页)
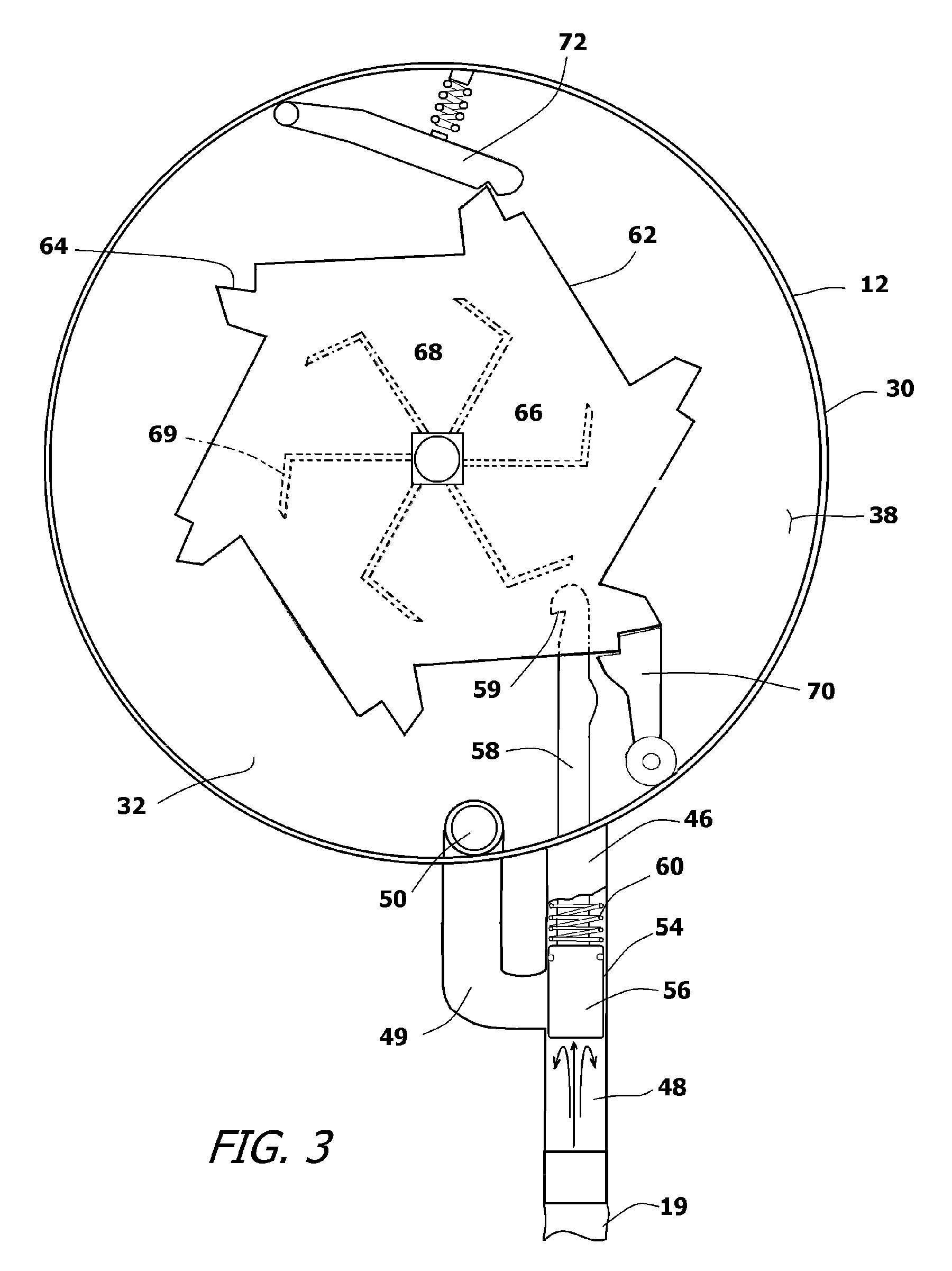
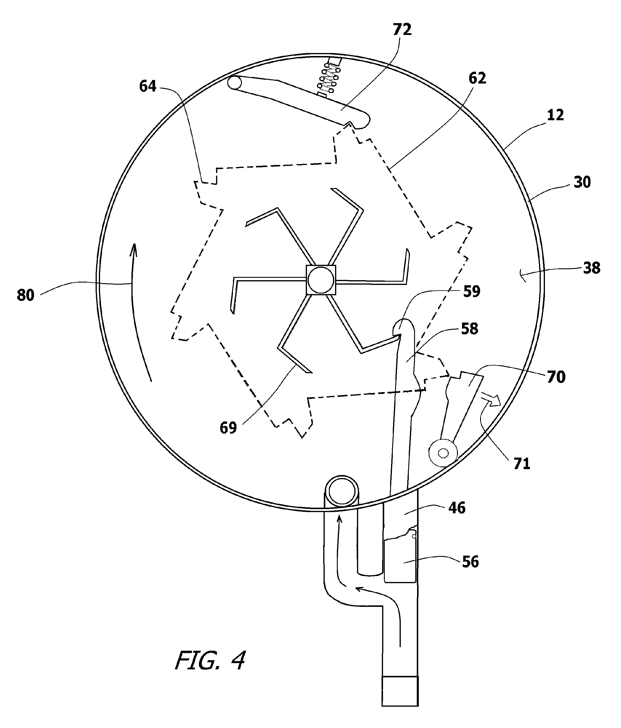
不过,这种款式的【儿童玩具火箭发射器】在2013-10-15申请了美国发明专利,该专利的主要发明点就是:
1. 一种用于气动发射玩具火箭的玩具发射组件,组件包括一个转盘的发射底座,该发射台容纳多个发射管并且可以旋转。
2. 通过柔性软管连接气囊,手动操作气囊产生空气脉冲,用于发射射弹。


3. 活塞臂伸展并旋转分度轮,转盘转动并依次定位多个发射管。


(图片来源:patentcloud)
该项专利的创新设计在于
1. 可以放置在地面上并由用户跳跃。通过跳到气囊上,气囊被用户的全部重量压缩,产生显着的空气脉冲。有效解决了因孩子力气太小射弹飞不起来的问题。
2. 可以多次发射,转盘自动填充。
所以,如果你的产品带有以上功能及实现方式是极有可能侵权的。Ella注意到亚马逊上这款产品的销量很可观,有上架的朋友需小心。
版权声明:本文发布于亚马逊全栈服务 内容均来源于互联网 如有侵权联系删除

