
专家认为,2岁以内的宝宝可以不用戒掉吸吮安抚奶嘴的习惯,因为它可以用来训练宝宝吸吮及吞咽的能力,特别是对低体重的早产儿,可帮助其口腔、肠胃蠕功能完善,同时达到自我安抚的功能。
今天Ella在亚马逊美国站搜索“Pacifier”时发现一款Amazon'sChoice的安抚奶嘴,留评数高达9000+,在亚马逊上好评高达100%。

图片来源:亚马逊截图
它的设计要点在于
1. 奶嘴上设有两个透气孔,方便宝宝透气;
2. 手柄上由编织纹,可再增加奶嘴的摩擦也更美观。

图片来源:亚马逊截图
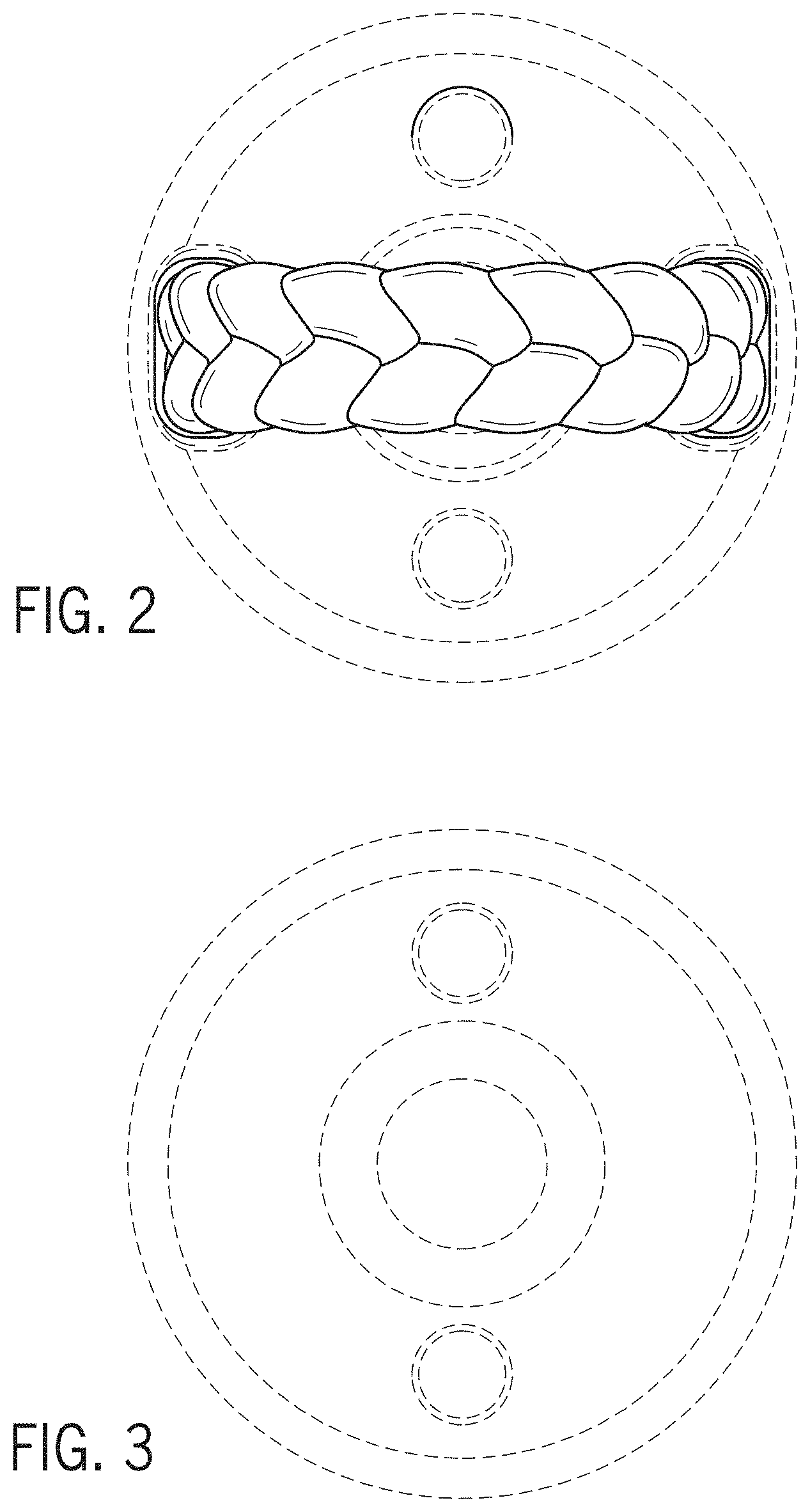
经过检索,Ella发现这款产品于2020年2月5日已被申请了美国外观专利,并在2021-07-27获准公告!预估2036年到期,以下是部分专利图:




图片来源:PATENTCLOUD
首先,该产品和所对比的美国外观专利设计用途相同,且都处于“D24/194奶嘴、奶嘴或咀嚼器 ”分类中。

第二,从立体图可以看出它们相同部分为:
1. 圆柱型奶嘴,且奶嘴顶部为半球状;
2. 有个连接盘,连接盘上有两个圆形透气孔;
3. 连接盘顶部都有一个拱形编织手柄。
经过以上对比可知,该美国外观专利设计的图片与该亚马逊产品构成相同的外观设计,尽管二者间有些微差异,但从视觉上已经构成高度相似,亚马逊产品已经落入该款专利的保护范围内。
所以卖家在没有获得授权的情况下售卖该款产品,很有可能会因为侵权风险而导致产品下架甚至关闭店铺。尽管该产品的市场需求量非常大,但是我们在抓住机遇的同时,也要遵守亚马逊的规则和各个国家关于知识产权保护的法律规范,以降低自身的风险。
【侵权案例分享】
昨天Ella接到一个案子,账号目前是冻结状态。从客户提供的信息分析,侵权的是之前Ella介绍的一款眼影工具——Crease Piece,当时是说这款产品有申请中的美国发明专利US20180125203。但是这次投诉的是版权,联系人正是这家品牌。

以下是产品图:

图片来源:谷歌搜图

